
一、結構形式
本系列消聲器是一種擴容阻抗復合式消聲器,內部結構采用了抗燃性能好的不銹鋼及鋁合金。
二、適用范圍
本系列消聲器適用于降低氧氣壓縮機后放散氧氣時產生的動力性噪聲。
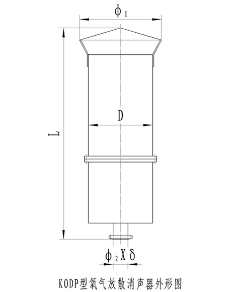
三、規格、性能、外形尺寸
| 型 號 | 消 聲 器 技 術 參 數 | 外 形 尺 寸 (mm) | 進口法蘭標準 | ||||||
| 風量m3/h | 壓力MPa | 溫度℃ | 消聲量dB(A) | L | φ1 | D | φ2×δ | JB81-94 | |
| KODP-1 | 600-1100 | 0.6 | 200 | 30 | 1600 | 400 | 550 | φ89×4 | PN0.6DN80 |
| KODP-2 | 1050-1700 | 0.6 | 200 | 30 | 1600 | 400 | 550 | φ108×5 | PN0.6DN100 |
| KODP-3 | 2300-3800 | 0.6 | 200 | 30 | 1600 | 450 | 600 | φ159×5 | PN0.6DN150 |
| KODP-4 | 4200-6900 | 0.6 | 200 | 30 | 1600 | 450 | 600 | φ219×6 | PN0.6DN200 |
| KODP-5 | 6500-10800 | 0.6 | 200 | 30 | 1800 | 600 | 800 | φ273×7 | PN0.6DN250 |





